1. Công nghệ điều chế
Dung dịch hoạt hóa điện hóa được điều chế trong một buồng điện phân dòng chảy (flow through electrochemical module-FEM, xem hình 1) có màng ngăn bán thẩm thấu, trong đó quá trình điện phân dung dịch muối NaCl (≤ 5g/L) được diễn ra trong điều kiện xa cân bằng, với quá thế (overvoltage) lên tới 3000 mV. Với một nội thế năng lớn đáng kể như vậy nhưng vẫn chưa đủ để các điện tử hóa trị của các chất có mặt trong dung dịch có thể bứt ra khỏi nguyên tử, mà chỉ có thể làm thay đổi kích thước các orbital của chúng. Cụ thể là tại khoang a nốt orbital điện tử bị co lại, trong khi tại khoang ca tốt orbital bị giãn ra (xem hình 2). Nhờ vậy dung dịch được đưa lên trạng thái kích thích giả bền, tạo ra các phần tử có khả năng oxy hóa cao khác thường (với thế oxy hóa khử lên tới 800 – 1000 mV), bao gồm các gốc tự do HO●, HO2●, Cl● (ký hiệu “●” có nghĩa là phân tử hoặc nguyên tử bị mất đi một điện tử), HOCl, ClO-, 1O2 (phân tử oxy liên kết đơn), O* nguyên tử đơn, O3, ClO2, H2O2. Các thành phần kích thích giả bền thu được sau đó tự phát tán năng lượng tuân theo quy luật tăng entropy để trở về trạng thái bền, với thời gian kéo dài hàng nhiều ngày. Quá trình trở về trạng thái bền này được gọi là hoạt hóa điện hóa, với hoạt tính tương tác cao khác thường.

Hình 1. Buồng điện hóa dòng chảy FEM3 có kết cấu dạng modul
 Hình 2. Đường cong thế năng của một chất trong quá trình điện hóa
Hình 2. Đường cong thế năng của một chất trong quá trình điện hóa
(1)-đường điện hóa bình thường; (2)- đường điện hóa hoạt hóa catốt; (3)-đường điện hóa hoạt hóa anốt
2. Hoạt tính kháng khuẩn
Sự khác biệt giữa điện phân hoạt hóa và điện phân truyền thống được chỉ ra trên hình 3 và hình 4. Hình 3 đưa ra so sánh hoạt tính kháng khuẩn giữa các dụng dịch cloramin NH2Cl, hypoclorit ClO- (nước Javen), hypochlorơ axit HOCl và anolit ANK, thông qua nồng độ clo hoạt tính của chất khử khuẩn phụ thuộc vào thời gian tiếp xúc mà tại đó 99% E.coli có mặt trong nước bị diệt. Trên hình 3, trục tung là hàm lượng clo hoạt tính (mg/L) ở thang logarit và trục hoành là thời gian tiếp xúc (phút) cũng ở thang logarit. Có thể thấy dung dịch anolit ANK có hoạt tính khử khuẩn mạnh nhất trong số các dung dịch khử trùng khảo sát, mạnh hơn nhiều so với dung dịch nước Javen có cùng nồng độ clo hoạt tính. Để diệt được 99% E.coli, tại nồng độ clo hoạt tính 0,040 mg/L nước Javen đòi hỏi thời gian tiếp xúc ít nhất 300 phút, trong khi anolit ANK chỉ cần khoảng 2,5 phút; đồng thời có thể thấy hypoclorơ axit (HOCl) mặc dù có pH chỉ nhỏ hơn 0,5 đơn vị so với pH 7,0 của anolit ANK, nhưng thời gian tiếp xúc đã tăng lên đến 3,5 phút.

Hình 3. So sánh hoạt tính kháng khuẩn của các dung dịch NH2Cl, ClO- và HOCl với anolit ANK,
trong trường hợp 99% E.Coli trong nước bị diệt ở nhiệt độ 2-60C. pH(HOCl) = 6,5; pH (OCl-) = 9; pH (NH2Cl) = 9; pH(ANK) = 7
     Hình 4. So sánh độ khoáng hóa của các dung dịch điện phân giữa điện hóa hoạt hóa và điện hóa truyền thống
Hình 4. So sánh độ khoáng hóa của các dung dịch điện phân giữa điện hóa hoạt hóa và điện hóa truyền thống
3. Độ khoáng hóa của dung dịch điện phân
Sự khác biệt của điện phân hoạt hóa so với điện phân truyền thống (điện phân công nghiệp) còn được thể hiện rõ theo độ khoáng hóa của dung dịch điện phân (hình 4). Công nghệ điện phân công nghiệp áp dụng độ khoáng hóa rất lớn, hàng trăm gam muối trên một lít dung dịch, có nghĩa là độ dẫn của dung dịch rất cao, không cho phép tạo ra quá thế lớn trên bề mặt điện cực a nốt. Vì vậy quá trình hoạt hóa dung dịch trong thiết bị Javen không thể xảy ra trong điều kiện đó (đấy là chưa kể đến kết cấu đặc biệt của mô đun điện phân FEM). Trong trường hợp cụ thể, quá trình điện phân muối NaCl không sử dụng màng ngăn chỉ sản sinh ra duy nhất một chất oxy hóa là NaOCl (nước Javen) có độ kiềm tính cao pH > 9, theo các phản ứng sau:
2NaCl + 2H2O → 2NaOH + Cl2 + H2
2NaOH + Cl2 → NaOCl + NaCl + H2O
[Dưới tác dụng của xút phân tử Cl2 tự oxy hóa khử (Cl2 → Cl+ + Cl-)]
Trong khi đó, dung dịch điện phân hoạt hóa điện hóa có độ khoáng hóa nhỏ tối thiểu, không vượt quá 5 g/L, và bằng một kỹ thuật phủ bề mặt đặc biệt đã cho phép tạo ra quá thế 3000 mV trên bề mặt điện cực a nốt để kích hoạt các phần tử có mặt trong dung dịch lên trạng thái kích thích giả bền, từ đó tạo ra một loạt các chất oxy hóa có hoạt tính cao khác thường, với thời gian tác dụng kéo dài.
 Hình 5. Thành phần các dạng clo hoạt tính phụ thuộc vào pH của dung dịch
Hình 5. Thành phần các dạng clo hoạt tính phụ thuộc vào pH của dung dịch
Như đã chỉ ra trên hình 3, anolit ANK cho hoạt tính khử khuẩn mạnh nhất và tiếp theo là hypoclorơ axit HOCl. Có thể dễ dàng nhận ra rằng ANK mạnh hơn HOCl là do sự khác biệt về giá trị pH của chúng. Trên hình 5 ta thấy, phụ thuộc vào pH, HOCl có thể dễ dàng chuyển thành nguyên tử clo hoặc ion hypoclorit ClO- với hoạt tính khử khuẩn yếu hơn rất nhiều so với HOCl. Mặc dù axit hypoclorơ được xem là chất oxy hóa mạnh nhất trong dẫy HOCl > Cl2 > ClO-, nhưng dung dịch của chất này lại có hoạt tính sát trùng mạnh nhất chính là khi pH của nó đạt giá trị xung quanh vùng pH7,5 nghĩa là khi nồng độ HOCl và ClO- ngang bằng nhau. Dưới điều kiện đó, trong dung dịch sẽ hình thành các gôc tự do hoạt tính cao do phản ứng oxy hóa khử dưới đây:
HOCl + ClO- → ClO● + HO● + Cl-
(nguyên tử Cl+1 nhận 2 điện tử của HO- và ClO- để khử về Cl-, trong khi HO- và ClO- bị mất 2 điện tử để trở thành gốc tự do ClO● và HO●)
Đồng thời gốc ClO● có thể tham gia vào phản ứng tạo ra nguyên tử oxy đơn O*, gốc hydroxyl HO● và nguyên tử clo đơn Cl*:
ClO● + ClO- + OH- → 2O* + HO● + Cl-
HO● + Cl- → Cl* + OH-
Những phản ứng oxy hóa khử dẫn ra ở trên cho phép khẳng định một điều hết sức cơ bản rằng các gốc từ do được sinh ra từ các phản ứng nêu trên, mặc dù không bền theo thời gian nhưng vẫn sẽ liên tục có mặt trong dung dịch hoạt hóa điện hóa, bởi vì chúng được tạo ra từ hai tiền chất bền là HOCl và ClO- luôn có mặt trong dung dịch anolit. Chính nhờ các phản ứng nêu trên mà trạng thái giả bền của dung dịch anolit có thể có khả năng được duy trì trong một thời gian kéo dài.
Ngoài ra, tất cả các phản ứng diễn ra trong dung dịch chứa các thành phần clo hoạt tính trong môi trường có pH trong khoảng 7,5 còn là các phản ứng được xúc tác bởi các ion H+ và OH-. Vì vậy các phản ứng này được xem là thuộc loại phản ứng xúc tác axit – bazơ. Vì vậy dung dịch hoạt hóa điện hóa này được ký hiệu là ANK (K là Katalyticheskii theo tiếng Nga)
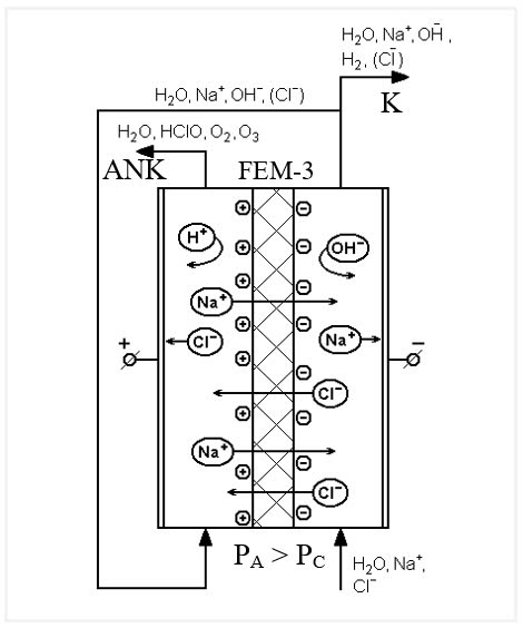
 Hình 6. Sơ đồ FEM 3 điều chế dung dịch hoạt hóa điện hóa ANK
Hình 6. Sơ đồ FEM 3 điều chế dung dịch hoạt hóa điện hóa ANK
Hình 6 chỉ ra rằng để có được giá trị pH duy trì trong vùng pH 7,5 dung dịch anolit phải được điều chế theo sơ đồ hoạt động của bộ mô đun điện hóa dòng chảy có màng ngăn (FEM-3), trong đó một phần catolit đầu ra được cho hướng vào đầu vào của khoang a nốt. Phần catolit này mang theo các hạt vi bọt khí hydro có khả năng thụ động hóa bề mặt vật liệu, nghĩa là các hạt vi bọt này có tác dụng như một tác nhân bảo vệ ca tốt, làm giảm thể oxy hóa khử của bề mặt vật liệu xử lý. Nhờ vậy dung dịch anolit ANK với nồng độ clo hoạt tính 250 ± 50 mg/L đã được khuyến cáo sử dụng cho việc xử lý sát trùng trong bệnh viện. Cần khẳng định rằng công nghệ sản xuất nước Javen không thể tạo ra các thông số kỹ thuật tương tự, nên sản phẩm thu được chỉ gồm duy nhất một thành phần là hypoclorit và luôn cho pH kiềm tính, không có tính thân thiện môi trường.
4. Tính an toàn
Kết quả nghiên cứu thực nghiệm nhiều năm thu được về các dung dịch hoạt hóa điện hóa cho phép thừa nhận rằng, xét về mặt cân bằng nhiệt động học, sự có mặt cùng một lúc hàng loạt chất oxy hóa trong anolit như axit hypoclorơ, ion hypoclorit, ozon, ClO2, các gốc tự do v.v…là không thể. Đồng thời, các dung dịch anolit hoạt hóa điện hóa có phổ tác động rộng đối với các loài vi khuẩn, virus, nấm, nhưng không làm tổn hại đến các tế bào của người và động vật cấp cao. Đó là do các tế bào động vật cấp cao trong vòng đời của mình, trong các phản ứng trong cytochrome P-450 quá trình thực bào đã sản sinh và sử dụng hàng loạt các chất oxy hóa mạnh như H2O2, HOCl, O●, 1O2, O2-, HO2●, HO●, ClO-… tương tự như trong dung dịch anolit để kiểm soát các thành phần độc hại trong cơ thể sống. Các tế bào động vật máu nóng được trang bị một lớp vỏ bọc gồm 3 lớp lipoprotein chứa các liên kết đôi có khả năng cho điện tử có khả năng vô hiệu hóa các chất oxy hóa nêu trên, trong khi các tế bào vi sinh vật không có lớp bảo vệ đó. Vì vậy dung dịch anolit độc hại đối với vi sinh vật nhưng không độc hại đối với người và động vật máu nóng. Có thể thấy các dung dịch nước Javen không thể có các đặc trưng đặc thù này.
Lời kết
Trên đây, nội dung bài viết chúng tôi đã giúp người đọc hiểu rõ sự khác biệt của dung dịch hoạt hóa điện hóa (nước muối hoạt hóa điện hóa) so với nước javen. Hy vọng bài viết sẽ hữu ích và giúp các bạn sử dụng nước muối hoạt hóa điện hóa một cách hiệu quả.
Theo PGS.TSKH. Ngô Quốc Bưu - Viện HLKHCN Việt Nam
Bạn có thể xem thêm về nước muối hoạt hóa điện hóa tại đây và hướng dẫn sử dụng tại đây







